今日(4月7日)A股共46只个股发生大宗交易,总成交14.89亿元,其中达梦数据、聚辰股份、致远互联成交额居前,成交额依次为3.27亿元、1.26亿元、1.16亿元。成交价方面,共10只股票平价成交,1只股票溢价成交,35只股票折价成交;国泰环保溢价成交,溢价率为0.98%;富淼科技、立高食品、爱美客折价率居前,折价率依次为23.79%、21.43%、20.45%。机构专用席位买入额排名:致远互联(1.16亿元)、聚辰股份(9897万元)、三棵树(4646.57万元)、龙芯中科(4404.4万元)、四方精创(3378.2万元)、罗博特科(2720万元)、新产业(1867.2万元)、恒逸石化(1416万元)、特发服务(1031.58万元)、恒通股份(1000.62万元)、赛腾股份(600.66万元)、首航新能(520.32万元)、富佳股份(402.36万元)。机构专用席位卖出额排名:新产业(2707.44万元)、恒逸石化(1416万元)、TCL科技(983.37万元)、三花智控(668.32万元)。
举报 第一财经广告合作,请点击这里此内容为第一财经原创,著作权归第一财经所有。未经第一财经书面授权,不得以任何方式加以使用,包括转载、摘编、复制或建立镜像。第一财经保留追究侵权者法律责任的权利。如需获得授权请联系第一财经版权部:banquan@yicai.com 相关阅读
金陵体育今日涨20.00% 3家机构专用席位净买入7583.36万元金陵体育今日涨20.00% 3家机构专用席位净买入7583.36万元
1小时前
准油股份今日涨停,有3家机构专用席位净卖出5371.75万元准油股份今日涨停,有3家机构专用席位净卖出5371.75万元
元股证券:ygzq.hk配资炒股 18 03-04 16:36
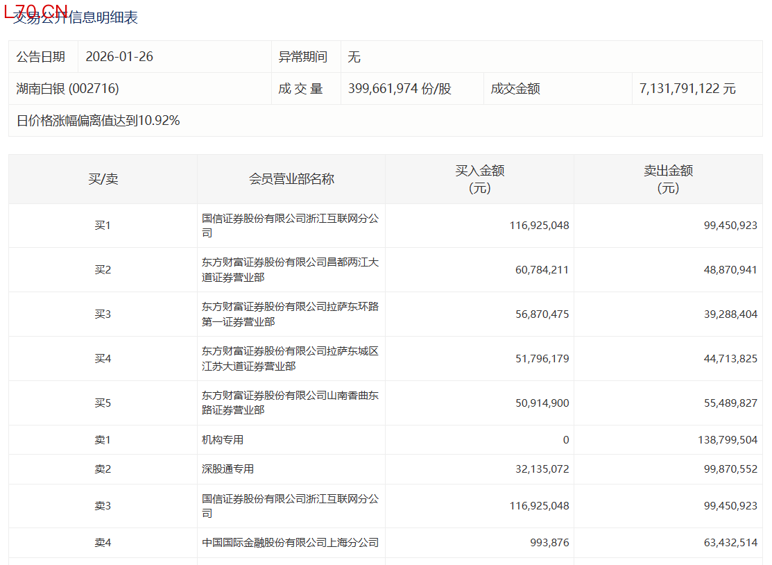
湖南白银今日涨停,有1家机构专用席位净卖出1.39亿元湖南白银今日涨停,有1家机构专用席位净卖出1.39亿元
16 01-26 16:27
瑞丰达案处罚落定!罚没合计4100万,犯罪线索已移送公安2024年上半年,瑞丰达实际控制人“跑路”的消息引发各方关注,证监会关注后展开核查,并于5月11日宣布对瑞丰达进行立案调查。 第一财经曾连续刊发《瑞丰达人去楼空,近20名投资者现场维权,浦东经侦查封办公楼》、《突然“跑路”的瑞丰达:重仓新三板公司,股东一个月前接连“撤退”》《“第三方”兜底并承诺8%年收益,瑞丰达“跑路”幕后操盘手浮现》等独家深度报道,揭示了瑞丰达产品4月份就无法兑付并悄然变更股东,兜底保收益销售产品,重仓绩差新三板公司、存在高买低卖异常交易行为等情形,向市场揭示风险,提醒投资者注意防范。
171 01-23 17:09
利欧股份今日跌停2026配资平台,3家机构专用席位净买入6930.05万元利欧股份今日跌停,3家机构专用席位净买入6930.05万元
31 01-21 16:26 一财最热 点击关闭元股证券|专业证券开户实盘配资服务官网提示:本文来自互联网,不代表本网站观点。